上海沪源助力“盐酸非索非那定片”首家通过一致性评价

2021-05-14 10:13:00


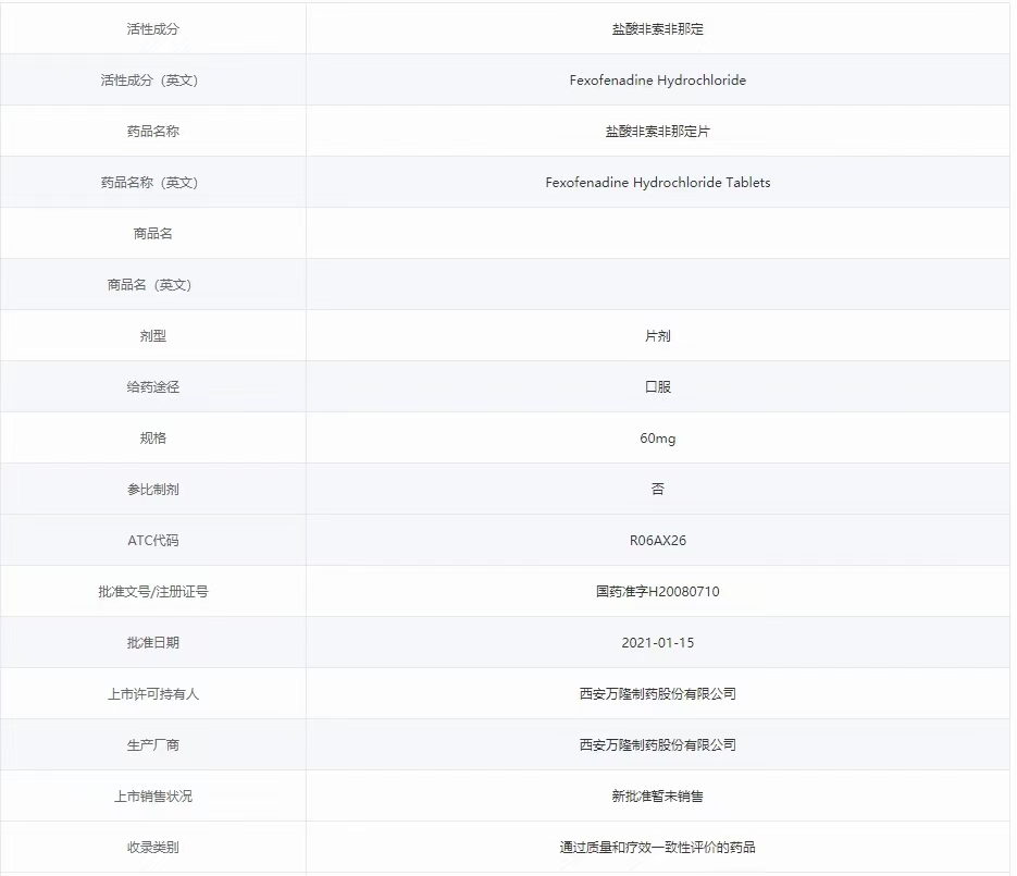
西安万隆制药股份有限公司的抗组胺药物“盐酸非索非那定片”,近日经国家药品监督管理局批准,正式通过仿制药质量和疗效一致性评价。

西安万隆制药股份有限公司是首家申报并通过盐酸非索非那定片一致性评价的企业,该产品使用的原料药生产厂商为印度Ind Swift,系上海沪源医药有限公司独家代理,药品批准文号:H20160617。

上海沪源医药有限公司自成立以来,助力国内多家企业顺利过评,目前已有上市品种63个,待批准品种53个,待申报品种128个。​产品质量稳定可靠,成为国内仿制药质量和疗效一致性评价原料的首选。